Bunda, sebisa mungkin jauhkan anak-anak dari benda tajam, karena balita Anda yang penasaran belum mengenal konsep bahwa benda apapun bisa mengancam nyawa. Seperti kasus mata anak tertusuk pensil tanpa sengaja yang dialami oleh Wren Bowell.
Artikel terkait: Mata Anak Hampir Buta Karena Mainan Fidget Spinner, Peringatan Bagi Orangtua
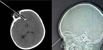
Mata anak tertusuk pensil yang menembus hingga ke otak
Mata anak tertusuk pensil yang dibawanya karena ia tersandung di tangga.
Menurut sebuah postingan yang dibagikan oleh Mediacare Video dan menjadi viral, Wren yang berusia 2 tahun ini sedang menggambar dengan senang hati di kamarnya sebelum berlari ke orangtuanya untuk memamerkan hasil gambarnya.
Saat itulah ia tersandung di tangga sambil memegang pensil. Seperti yang terlihat pada hasil foto sinar X, pensil tajam tersebut menikam matanya dan kemudian menembus sepanjang hampir 4 cm di bagian depan otaknya.
Ajaibnya, balita ini bisa bertahan!
Setelah menjalani operasi yang berlangsung selama berjam-jam, dokter mengatakan bahwa Wren berhasil melewati masa kritis dari kecelakaan.
Untungnya, pensil yang tajam itu meleset beberapa milimeter dari bola matanya dan pembuluh darah besar. Dokter kagum betapa pensil itu melewati bola mata dan rongga mata.
Seandainya pensil tersebut menusuk bola mata, maka mata balita itu bisa berdarah parah atau terinfeksi. Lebih buruk lagi, kecelakaan itu bisa membuatnya cacat permanen.
Ibunda Wren yang merupakan seorang perawat tetap tenang. Ia tahu sebaiknya tetap menunggu datangnya bantuan medis dibanding mencoba mengeluarkan pensil itu dari mata anaknya.
Menarik pensil bisa memperburuk situasi karena menyebabkan pendarahan berat atau membuat mata terluka parah.
Apa yang bisa dipelajari dari insiden ini?

Tidak ada orangtua yang ingin melihat anaknya kesakitan, jadi lebih baik bersikap ekstra hati-hati. Hal ini juga bisa terjadi pada barang-barang yang ada di rumah meski tampak tidak berbahaya untuk digunakan bermain.
Kuncinya: awasi anak!
Berikut tips keselamatan penting yang perlu diingat:
- Saat balita Anda bermain menggunakan pulpen atau pensil, pastikan untuk mengawasinya. Bahkan alat gambar yang ramah anak pun bisa menyebabkan luka.
- Pastikan area tempat bermain anak Anda aman, dan hanya mainan sesuai usia saja yang dapat dijangkau olehnya. Jika Parents memiliki anak dengan usia yang bervariasi, awasi mereka bermain.
- Awasi anak-anak selama playdate. Beberapa anak cenderung bermain terlalu kasar dengan anak lain.
- Saat berada di luar ruangan, pastikan anak memakai perlengkapan yang tepat, begitu pula tabir surya.
- Jika pakaian anak menggunakan tali atau memakai syal, pastikan terpasang longgar karena anak bisa tercekik.
- Bila anak berolahraga atau berenang, pastikan anak melakukan peregangan atau stretching sebelum mulai.
- Saat berada di playground, pastikan para balita berada jauh dari anak-anak yang lebih besar.
- Periksa area yang berpotensi bahaya, misalnya benda berkarat atau sesuatu yang tajam.
- Selalu cek area rumah dan tempat bermain anak dan pastikan tidak ada benda-benda yang dapat membuat tersedak, tercekik, atau kesetrum. Terkadang ada bahaya tersembunyi yang tak terlihat mata!
Baca juga:
Terpeleset, ibu hamil ini tertusuk pisau saat jatuh di dapur
Parenting bikin pusing? Yuk tanya langsung dan dapatkan jawabannya dari sesama Parents dan juga expert di app theAsianparent! Tersedia di iOS dan Android.